首页 > 聚焦“六航”主题

盐城港督查督办系统正式上线运行

2023-11-06 字体:

督查督办是推动集团高质量发展,保障各项决策落实落地的重要手段,是提高工作执行力、改进工作作风、密切各单位联系的重要渠道。为进一步做好重大决策事项和重点工作的督促落实,科技集团牵头建设了盐城港“督查督办系统”,并于近日正式上线试运行。

41.png

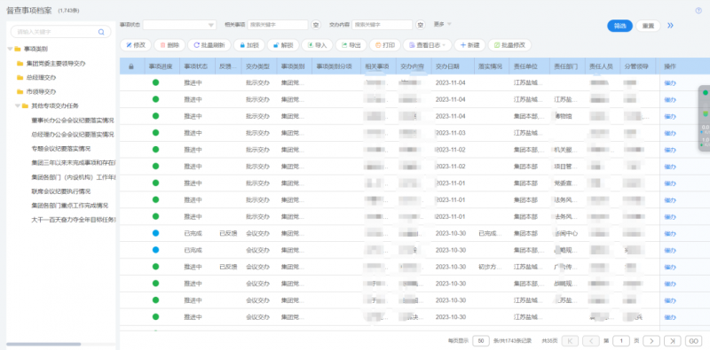
该系统实现了对督查督办全流程的电子化管理,包括任务下达、执行监控、结果反馈等环节。通过系统,能够智能分配任务,对任务进度进行实时监控,并推送提醒,确保任务能够按时完成。同时,系统建立了完备的督办档案,详细记录工作的全过程,被督查人可以随时查看并反馈处理情况。

相较于传统的督查督办方式,该系统实现了过程和结果的精确记录,确保了督查督办的规范化进行。系统支持移动APP及电脑端访问,实现一键送达、一键反馈,线上线下有机融合,形成了闭环式督办流转机制,解决了以往督办事项碎片化、跟踪不可视、责任链条不完整等问题,全面实现了对全流程管控,有效防止了工作流于形式。此外,系统具有适时预警提醒功能,正常推进及序时内事项显示“绿色”,完成事项显示“蓝色”,欠序时事项显示“黄色”,并通过OA系统进行待办提醒。

42.png

展望未来,科技集团将持续优化完善该系统,以科技赋能督查工作,推动督查督办实现全面信息化,确保集团各项决策部署真正落到实处,为集团高质量发展提供坚强保障。

上一篇:> > 集团党委专题研究党风廉政建设工作...

下一篇:> > 大干一百天•奋力夺全年丨盐城港滨...